本發明公開了一種高效率化學廢水廢渣處理設備,所述反應腔體的頂部一側開設有進料口,所述反應腔體的內部中間位置還豎向裝設有轉動軸,所述轉動軸的頂端與外部的轉動電機的轉子同軸連接,且轉動電機的轉子與轉動軸均為中空設計,且相通連接,所述轉動電機的轉子外部開設有除臭凈化液添加口,所述轉動軸的外部周向螺旋安裝有攪拌葉片,所述反應腔體的底部出料口外部裝設有脫水管道,所述脫水管道的側壁為網狀,所述脫水管道的側面裝設有鼓風電機。該高效率化學廢水廢渣處理設備通過采用螺旋內出液式凈化液添加方式,使得廢水、廢渣的除臭更加的充分、徹底,加設的高強度熱風機脫水結構,使得廢渣脫水更加的徹底。
摘要附圖

權利要求書
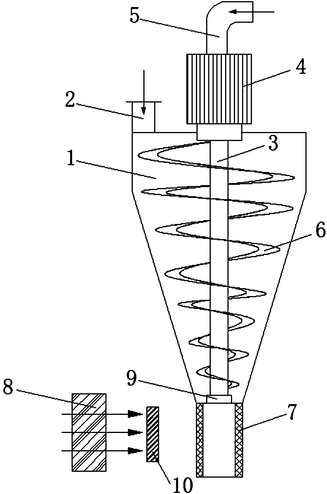
1.一種高效率化學廢水廢渣處理設備,包括反應腔體(1),其特征在于:所述反應腔體(1)整體呈筒狀,且下部分筒體的內徑長度逐漸減小,所述反應腔體(1)的頂部一側開設有進料口(2),所述反應腔體(1)的內部中間位置還豎向裝設有轉動軸(3),所述轉動軸(3)的頂端與外部的轉動電機(4)的轉子同軸連接,且轉動電機(4)的轉子與轉動軸(3)均為中空設計,且相通連接,所述轉動電機(4)的轉子外部開設有除臭凈化液添加口(5),所述轉動軸(3)的外部周向螺旋安裝有攪拌葉片(6),所述反應腔體(1)的底部出料口外部裝設有脫水管道(7),所述脫水管道(7)的側壁為網狀,所述脫水管道(7)的側面裝設有鼓風電機(8)。
2.根據權利要求1所述的一種高效率化學廢水廢渣處理設備,其特征在于:所述攪拌葉片(6)的整體形狀與反應腔體(1)的形狀相適配。
3.根據權利要求1所述的一種高效率化學廢水廢渣處理設備,其特征在于:所述轉動軸(3)的底端與反應腔體(1)的底部之間通過滾珠軸承(9)連接。
4.根據權利要求1所述的一種高效率化學廢水廢渣處理設備,其特征在于:所述鼓風電機(8)的出風口朝向脫水管道(7)的側壁方向,且鼓風電機(8)的出風口前側還裝設有電加熱結構(10)。
說明書
一種高效率化學廢水廢渣處理設備
技術領域
本發明涉及化學處理設備技術領域,具體為一種高效率化學廢水廢渣處理設備。
背景技術
廢水、廢渣(污染物)指人類生產和生活過程中排出或投棄的液體、固體廢棄物。按其來源分:工業廢渣、農業廢渣和城市生活垃圾等。在化學工業的生產中常常需要進行廢水廢渣的處理,目前常用的化學廢水廢渣處理設備存在工作效率低的缺點,導致廢水廢渣的處理不徹底,不能滿足使用的需要。
發明內容
本發明的目的在于提供一種高效率化學廢水廢渣處理設備,以解決上述背景技術中提出的問題。
為實現上述目的,本發明提供如下技術方案:一種高效率化學廢水廢渣處理設備,包括反應腔體,所述反應腔體整體呈筒狀,且下部分筒體的內徑長度逐漸減小,所述反應腔體的頂部一側開設有進料口,所述反應腔體的內部中間位置還豎向裝設有轉動軸,所述轉動軸的頂端與外部的轉動電機的轉子同軸連接,且轉動電機的轉子與轉動軸均為中空設計,且相通連接,所述轉動電機的轉子外部開設有除臭凈化液添加口,所述轉動軸的外部周向螺旋安裝有攪拌葉片,所述反應腔體的底部出料口外部裝設有脫水管道,所述脫水管道的側壁為網狀,所述脫水管道的側面裝設有鼓風電機。
優選的,所述攪拌葉片的整體形狀與反應腔體的形狀相適配。
優選的,所述轉動軸的底端與反應腔體的底部之間通過滾珠軸承連接。
優選的,所述鼓風電機的出風口朝向脫水管道的側壁方向,且鼓風電機的出風口前側還裝設有電加熱結構。
與現有技術相比,本發明的有益效果是:該高效率化學廢水廢渣處理設備通過采用螺旋內出液式凈化液添加方式,使得廢水、廢渣的除臭更加的充分、徹底,加設的高強度熱風機脫水結構,使得廢渣脫水更加的徹底,便于進行廢渣收集,滿足了使用的需要。





