一種污水雜質過濾器,外殼外面鉸接有多個支撐架,支撐架為“L”型,支撐架包括垂直相交的擋桿和支撐桿,擋桿位于支撐桿上端,擋桿與支撐桿的相交處與外殼相鉸接,支撐架向上翻折時、擋桿緊貼在外殼外面,支撐架向下翻折時、支撐桿緊貼在外殼外面,且外殼的下端懸空架起,支撐桿的下端外側固定連接有突塊,突塊的外側面帶有外螺紋,突塊上側的支撐桿外套穿有與突塊相對應的螺母,螺母帶有與突塊的外螺紋相對應的內螺紋,支撐架向下翻折后、螺母與突塊螺紋相連,支撐架向上翻折后、螺母架設在支撐桿上。突塊的外側面傾斜設置,突塊的外側面上端向內傾斜、下端向外傾斜。外殼的內側壁上部固定連接有彈性夾板,彈性夾板與外殼圍成的空間開口向上。

權利要求書
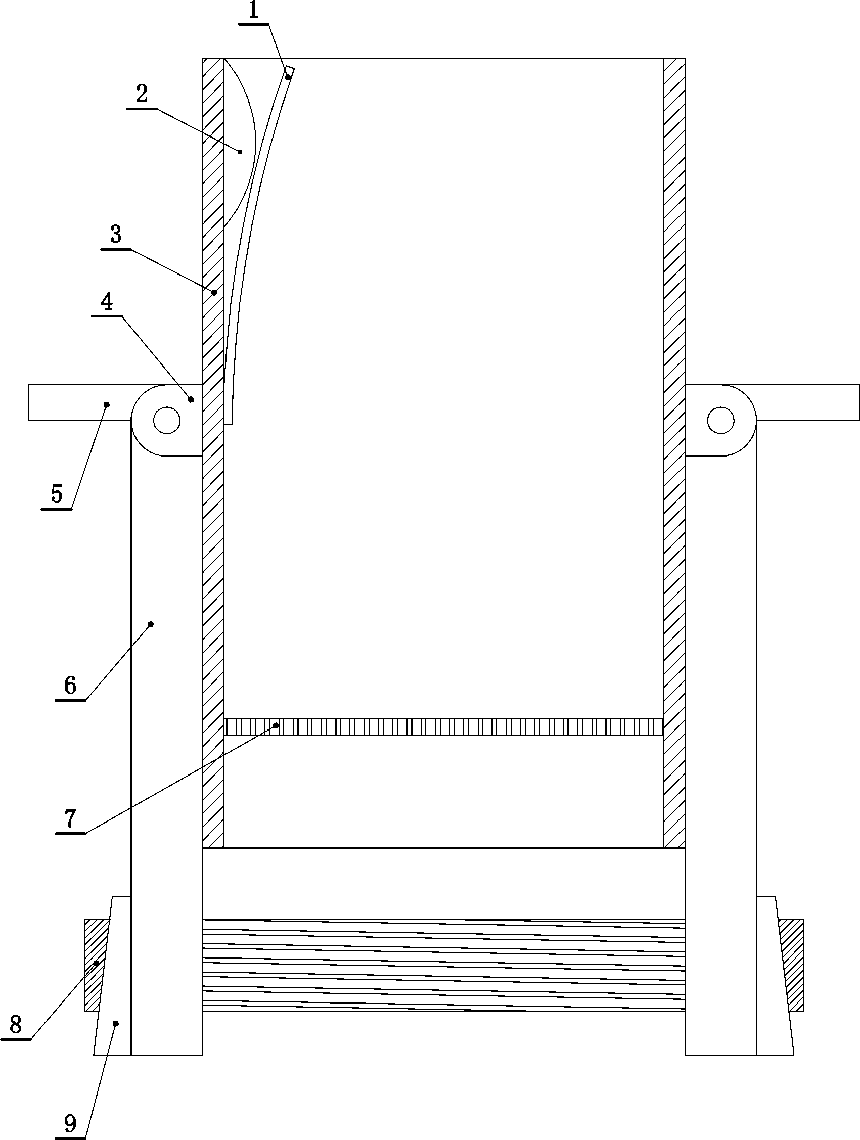
1.一種污水雜質過濾器,包括上下貫通的外殼(3),外殼(3)內的底部固定連接有過濾網(7),其特征在于,外殼(3)外面鉸接有多個支撐架,支撐架為“L”型,支撐架包括垂直相交的擋桿(5)和支撐桿(6),擋桿(5)位于支撐桿(6)的上端,擋桿(5)與支撐桿(6)的相交處與外殼(3)相鉸接,支撐架向上翻折時、擋桿(5)緊貼在外殼(3)外面,支撐架向下翻折時、支撐桿(6)緊貼在外殼(3)外面,且外殼(3)的下端懸空架起,支撐桿(6)的下端外側固定連接有突塊(9),突塊(9)的外側面帶有外螺紋,突塊(9)上側的支撐桿(6)外套穿有與突塊(9)相對應的螺母(8),螺母(8)帶有與突塊(9)的外螺紋相對應的內螺紋,支撐架向下翻折后、螺母(8)與突塊(9)螺紋相連,支撐架向上翻折后、螺母(8)架設在支撐桿(6)上。
2.根據權利要求1所述的污水雜質過濾器,其特征在于,所述突塊(9)的外側面傾斜設置,突塊(9)的外側面上端向內傾斜、下端向外傾斜。
3.根據權利要求1所述的污水雜質過濾器,其特征在于,所述外殼(3)的內側壁上部固定連接有彈性夾板(1),彈性夾板(1)與外殼(3)圍成的空間開口向上。
4.根據權利要求3所述的污水雜質過濾器,其特征在于,所述彈性夾板(1)為弧形板。
5.根據權利要求3所述的污水雜質過濾器,其特征在于,所述彈性夾板(1)外側的所述外殼(3)的內側壁固定連接有突條(2)。
6.根據權利要求4所述的污水雜質過濾器,其特征在于,所述突條(2)橫向設置,突條(2)位于所述彈性夾板(1)的上方。
7.根據權利要求1所述的污水雜質過濾器,其特征在于,所述外殼(3)的橫截面外輪廓為圓形,所述支撐架等高、等間距均勻分布。
8.根據權利要求1所述的污水雜質過濾器,其特征在于,所述外殼(3)的橫截面外輪廓為正多邊形,所述支撐架位于外殼(3)每個立面的中間位置,且等高分布。
9.根據權利要求1所述的污水雜質過濾器,其特征在于,所述外殼(3)外面固定連接有連接件(4),所述支撐架通過連接件(4)與外殼(3)鉸接相連。
說明書
污水雜質過濾器
技術領域
本發明涉及一種建筑工程使用的過濾裝置,尤其涉及一種污水雜質過濾器。
背景技術
在建筑施工過程中,經常需要排放污水,通常這些污水從排污井口通過排污管道排走,但建筑工地的污水常含有雜質,容易在排污井口處或排污管道內聚集,造成堵塞。
發明內容
本發明針對不足,提供一種能夠阻擋雜質、避免堵塞的污水雜質過濾器。
本發明解決上述技術問題的技術方案如下:
一種污水雜質過濾器,包括上下貫通的外殼,外殼內的底部固定連接有過濾網,其特征在于,外殼外面鉸接有多個支撐架,支撐架為“L”型,支撐架包括垂直相交的擋桿和支撐桿,擋桿位于支撐桿的上端,擋桿與支撐桿的相交處與外殼相鉸接,支撐架向上翻折時、擋桿緊貼在外殼外面,支撐架向下翻折時、支撐桿緊貼在外殼外面,且外殼的下端懸空架起,支撐桿的下端外側固定連接有突塊,突塊的外側面帶有外螺紋,突塊上側的支撐桿外套穿有與突塊相對應的螺母,螺母帶有與突塊的外螺紋相對應的內螺紋,支撐架向下翻折后、螺母與突塊螺紋相連,支撐架向上翻折后、螺母架設在支撐桿上。
根據所述的污水雜質過濾器,其特征在于,所述突塊的外側面傾斜設置,突塊的外側面上端向內傾斜、下端向外傾斜。
根據所述的污水雜質過濾器,其特征在于,所述外殼的內側壁上部固定連接有彈性夾板,彈性夾板與外殼圍成的空間開口向上。
根據所述的污水雜質過濾器,其特征在于,所述彈性夾板為弧形板。
根據所述的污水雜質過濾器,其特征在于,所述彈性夾板外側的所述外殼的內側壁固定連接有突條。
根據所述的污水雜質過濾器,其特征在于,所述突條橫向設置,突條位于所述彈性夾板的上方。
根據所述的污水雜質過濾器,其特征在于,所述外殼的橫截面外輪廓為圓形,所述支撐架等高、等間距均勻分布。
根據所述的污水雜質過濾器,其特征在于,所述外殼的橫截面外輪廓為正多邊形,所述支撐架位于外殼每個立面的中間位置,且等高分布。
根據所述的污水雜質過濾器,其特征在于,所述外殼外面固定連接有連接件,所述支撐架通過連接件與外殼鉸接相連。
本發明既可以放置于排污下水管道的井口處,也可放置在露天水溝內,甚至可以直接放置于河邊。當放置于排污下水管道的井口處時,將支撐架上翻打開,支撐桿能支撐架設在排污井口邊緣,當放置在露天水溝內和河邊時,將支撐架向下翻折,使支撐桿的自由端位于外殼下方,使外殼的下端口被架起懸空,以方便順利排水。
將建筑工地的排污水管出水口置于本發明中,可將工地污水中的雜質過濾去掉,以避免堵塞排污井口和排污管道,操作使用方便,效果好。





