今天為您介紹的是——游泳池循環水處理系統
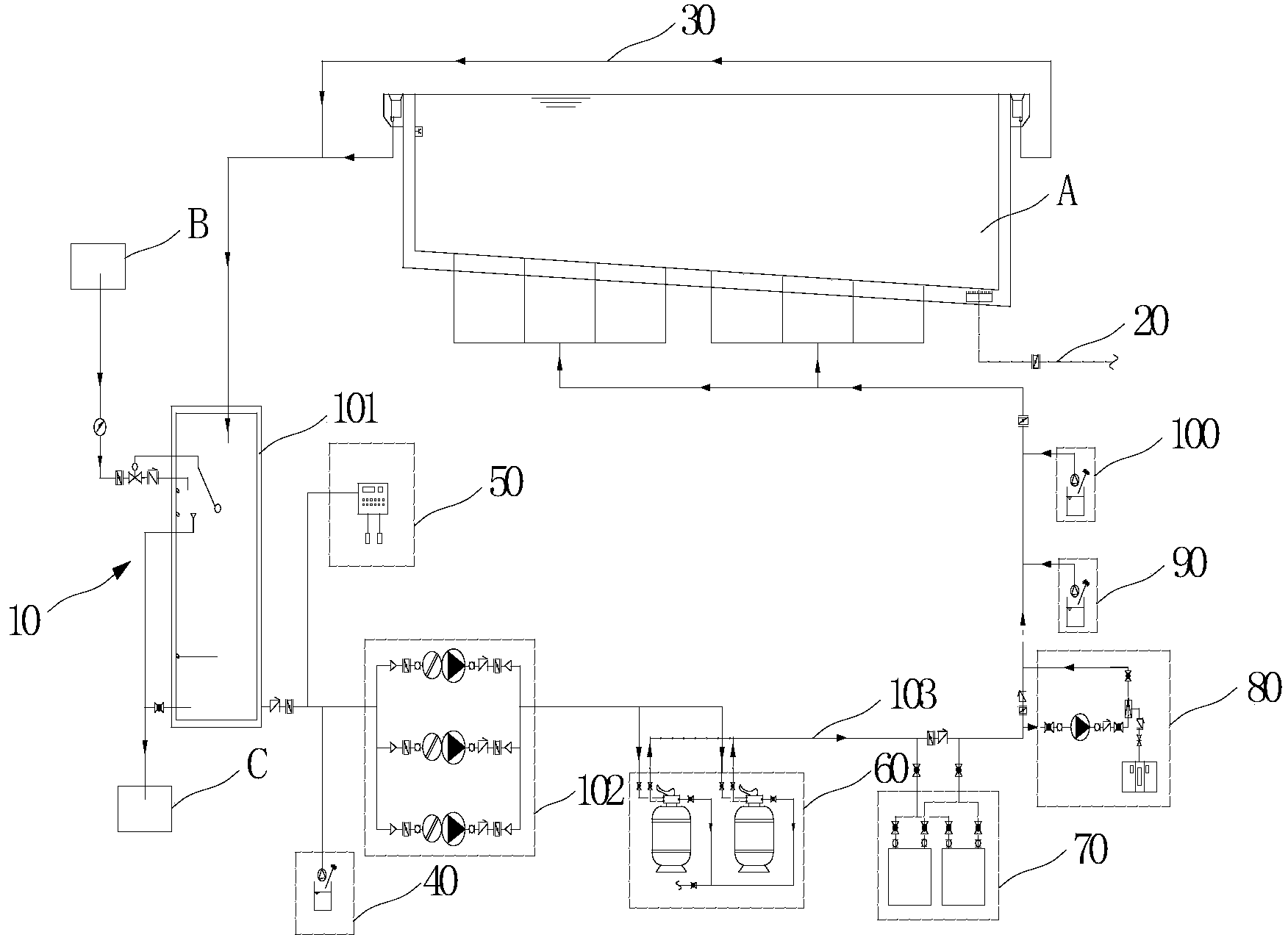
游泳池循環水處理系統,包括與游泳池進水口連接的供水系統、與游泳池出水口連接的排水系統以及與游泳池溢流口連接的溢流系統;所述供水系統包括與游泳池進行水源交換的均衡水箱和使水源交換得以進行的循環水泵裝置以及將均衡水箱、循環水泵裝置和游泳池進水口依次連接的供水管道;所述溢流系統由溢流排水管組成,該溢流排水管的一端連接游泳池溢流口,溢流排水管的另一端連接均衡水箱。本實用新型的游泳池循環水處理系統經過一系列的凈化處理過程,保證水質安全衛生,同時降低游泳池換水次數,具有節能、節水的特點。

權利要求書
1.一種游泳池循環水處理系統,其特征在于,包括與游泳池進 水口連接的供水系統、與游泳池出水口連接的排水系統以及與游泳池 溢流口連接的溢流系統;所述供水系統包括與游泳池進行水源交換的 均衡水箱和使水源交換得以進行的循環水泵裝置以及將均衡水箱、循 環水泵裝置和游泳池進水口依次連接的供水管道;所述溢流系統由溢 流排水管組成,該溢流排水管的一端連接游泳池溢流口,溢流排水管 的另一端連接均衡水箱。
2.根據權利要求1所述的游泳池循環水處理系統,其特征在于, 該游泳池循環水處理系統還包括裝設在均衡水箱與循環水泵裝置之 間的供水管道上的絮凝劑投藥裝置。
3.根據權利要求1所述的游泳池循環水處理系統,其特征在于, 該游泳池循環水處理系統還包括裝設在均衡水箱與循環水泵裝置之 間的供水管道上的水質檢測儀。
4.根據權利要求1所述的游泳池循環水處理系統,其特征在于, 該游泳池循環水處理系統還包括裝設在循環水泵裝置與游泳池進水 口之間的供水管道上的過濾裝置,該過濾裝置由兩個過濾砂缸組成, 兩個過濾砂缸并聯連接在供水管道上。
5.根據權利要求4所述的游泳池循環水處理系統,其特征在于, 該游泳池循環水處理系統還包括裝設在過濾裝置與游泳池進水口之 間的供水管道上的加熱裝置,該加熱裝置由兩組熱水機組組成,兩組 熱水機組并聯連接在供水管道上。
6.根據權利要求4所述的游泳池循環水處理系統,其特征在于, 該游泳池循環水處理系統還包括裝設在過濾裝置與游泳池進水口之 間的供水管道上的臭氧消毒裝置。
7.根據權利要求4所述的游泳池循環水處理系統,其特征在于, 該游泳池循環水處理系統還包括裝設在過濾裝置與游泳池進水口之 間的供水管道上的消毒劑投藥裝置。
8.根據權利要求4所述的游泳池循環水處理系統,其特征在于, 該游泳池循環水處理系統還包括裝設在過濾裝置與游泳池進水口之 間的供水管道上的PH調節裝置。
9.根據權利要求1-8任一項所述的游泳池循環水處理系統,其 特征在于,所述均衡水箱內裝設有數個用于檢測停泵報警水位的液位 計。
10.根據權利要求1-8任一項所述的游泳池循環水處理系統,其 特征在于,所述循環水泵裝置由三組并聯連接在供水管道上的循環水 泵組成。
說明書
游泳池循環水處理系統
技術領域
本實用新型涉及游泳池水處理領域,更具體地說,涉及一種節能、 提供優質水源的游泳池循環水處理系統。
背景技術
游泳池作為如今公眾娛樂的重要場所,其水質的安全涉及到公眾 的人身安全。而游泳池水質的現狀令人堪憂,大量的肉眼可見物,以 及強烈的消毒刺激性味道,令公眾的身心愉悅大大降低。
實用新型內容
本實用新型要解決的技術問題在于,針對現有技術的上述缺陷, 提供一種節能、提供優質水源的游泳池循環水處理系統。
本實用新型解決其技術問題所采用的技術方案是:提供一種游泳 池循環水處理系統,包括與游泳池進水口連接的供水系統、與游泳池 出水口連接的排水系統以及與游泳池溢流口連接的溢流系統;所述供 水系統包括與游泳池進行水源交換的均衡水箱和使水源交換得以進 行的循環水泵裝置以及將均衡水箱、循環水泵裝置和游泳池進水口依 次連接的供水管道;所述溢流系統由溢流排水管組成,該溢流排水管 的一端連接游泳池溢流口,溢流排水管的另一端連接均衡水箱。
本實用新型所述的游泳池循環水處理系統,其中,該游泳池循環 水處理系統還包括裝設在均衡水箱與循環水泵裝置之間的供水管道 上的絮凝劑投藥裝置。
本實用新型所述的游泳池循環水處理系統,其中,該游泳池循環 水處理系統還包括裝設在均衡水箱與循環水泵裝置之間的供水管道 上的水質檢測儀。
本實用新型所述的游泳池循環水處理系統,其中,該游泳池循環 水處理系統還包括裝設在循環水泵裝置與游泳池進水口之間的供水 管道上的過濾裝置,該過濾裝置由兩個過濾砂缸組成,兩個過濾砂缸 并聯連接在供水管道上。
本實用新型所述的游泳池循環水處理系統,其中,該游泳池循環 水處理系統還包括裝設在過濾裝置與游泳池進水口之間的供水管道 上的加熱裝置,該加熱裝置由兩組熱水機組組成,兩組熱水機組并聯 連接在供水管道上。
本實用新型所述的游泳池循環水處理系統,其中,該游泳池循環 水處理系統還包括裝設在過濾裝置與游泳池進水口之間的供水管道 上的臭氧消毒裝置。
本實用新型所述的游泳池循環水處理系統,其中,該游泳池循環 水處理系統還包括裝設在過濾裝置與游泳池進水口之間的供水管道 上的消毒劑投藥裝置。
本實用新型所述的游泳池循環水處理系統,其中,該游泳池循環 水處理系統還包括裝設在過濾裝置與游泳池進水口之間的供水管道 上的PH調節裝置。
本實用新型所述的游泳池循環水處理系統,其中,所述均衡水箱 內裝設有數個用于檢測停泵報警水位的液位計。
本實用新型所述的游泳池循環水處理系統,其中,所述循環水泵 裝置由三組并聯連接在供水管道上的循環水泵組成。
實施本實用新型的游泳池循環水處理系統,具有以下有益效果:
(1)本實用新型的游泳池循環水處理系統經過一系列的凈化處 理過程,保證水質安全衛生,同時降低游泳池換水次數,具有節能、 節水的特點;
(2)另外,本實用新型的游泳池循環水處理系統自動化程度高, 安全可靠,易于推廣。

污水處理設備聯系方式:
銷售熱線:010-8022-5898
手機號碼:186-1009-4262





