今天小編為大家介紹的是——污水處理厭氧反應器
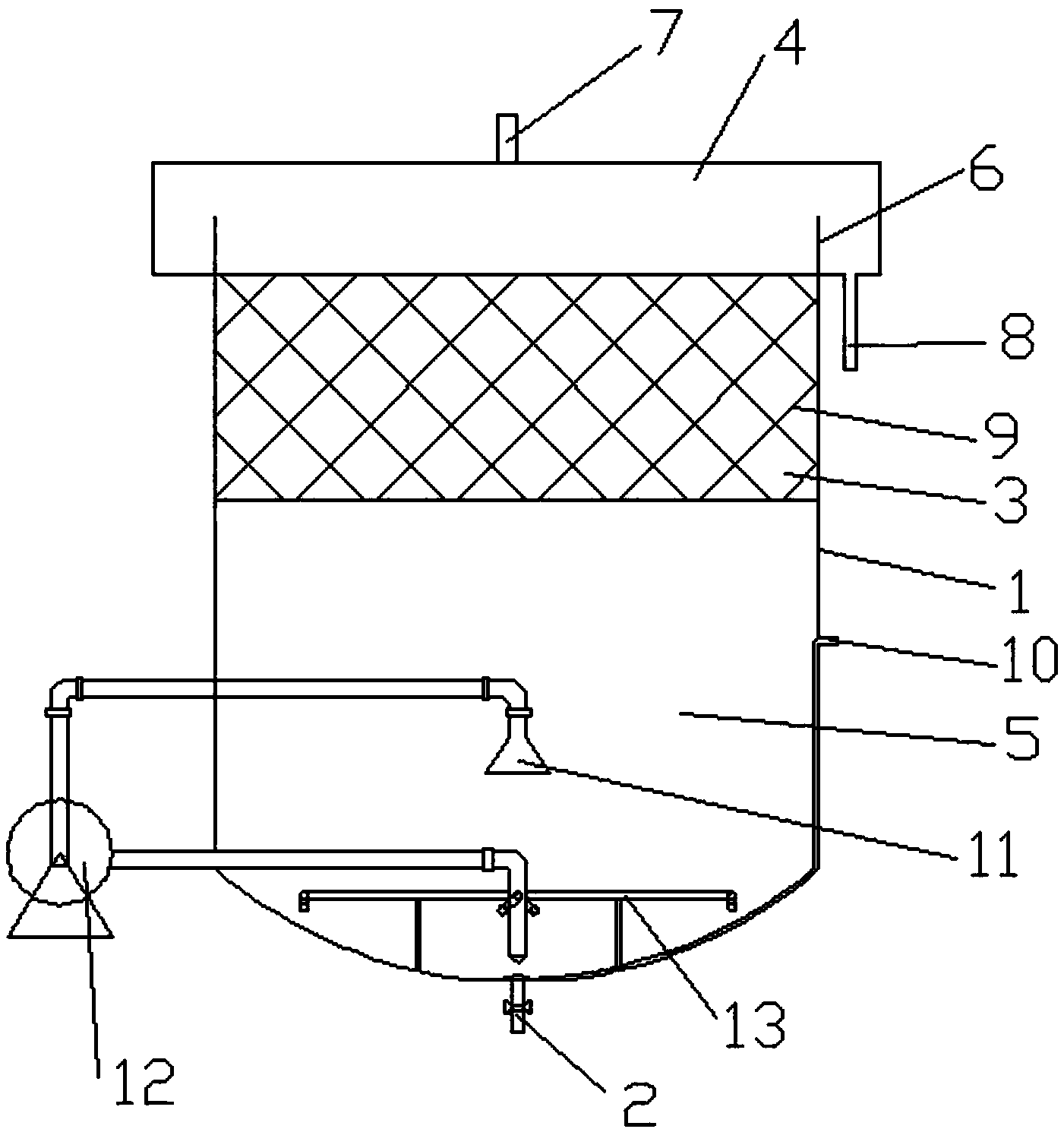
污水處理厭氧反應器,包括罩體、進水口、溢流板、溢氣口、出水口、污泥排出口、倒漏斗形循環取水口、循環泵、射流布水器;所述罩體采用透明有機玻璃組成,分為填料區、沉淀區、布水區三個區域,沉淀區頂端設有溢氣口,側下方設有出水口,中間安裝有溢流板;布水區底部為錐形以減少反應死區,底端安裝有進水口,側面設有污泥排出口,布水區上沿處設錐角為45°的倒漏斗形循環取水口,在罩體外部安裝有循環泵,循環泵進水口與倒漏斗形循環取水口相連接,出水口與射流布水器相通。該污水處理厭氧反應器采用布水系統加攪拌的結構,不僅克服傳統厭氧反應器污泥流失和布水不均的問題,而且更好地攔截污泥,防止污泥流失。

1.一種污水處理厭氧反應器,包括罩體、進水口、溢流板、溢氣口、出水口、污泥排出口、倒漏斗形循環取水口、循環泵、射流布水器,罩體采用透明有機玻璃組成,分為填料區、沉淀區、布水區三個區域;其特征在于:所述沉淀區頂端設有溢氣口,側下方設有出水口,中間安裝有溢流板;布水區底部為錐形以減少反應死區,底端安裝有進水口,側面設有污泥排出口,布水區上沿處設錐角為45°的倒漏斗形循環取水口,在罩體外部安裝有循環泵,循環泵進水口與倒漏斗形循環取水口相連接,出水口與射流布水器相通。
2.根據權利要求1所述的一種污水處理厭氧反應器,其特征在于:所述填料區內填充有填料層組件。
3.根據權利要求2所述的一種污水處理厭氧反應器,其特征在于:所述填料層組件是由變性聚乙烯塑料制成的立體狀節能型填料。
4.根據權利要求1所述的一種污水處理厭氧反應器,其特征在于:所述射流布水器由主干管、支管、布水管組成;主干管下端連通有四根支管,呈對稱分布,每根支管頂端設有沿垂直方向傾斜45°角的布水管。
厭氧生物處理技術具有動力能耗低、占地面積小、容積負荷高、剩余污泥量少、可回收能源等一系列突出優點,是處理高濃度有機廢水的首選技術。但是,目前實際工程中應用較廣的主流厭氧生物反應器都在不同程度上都存在著一些不足,例如反應器結構相對復雜、啟動時間長、泥水的混合不均勻以及氣、液、固三相的分離效率受限于顆粒污泥的培養形成和三相分離器的合理設計等。針對以上不足,進行新型厭氧生物反應器的研發,使之能夠高效、長期、穩定的運行,具有極為廣闊的工程應用價值。
為了解決上述問題;本實用新型提供一種污水處理厭氧反應器,該污水處理厭氧反應器采用布水系統加攪拌的結構,不僅克服傳統厭氧反應器污泥流失和布水不均的問題,而且更好地攔截污泥,防止污泥流失。
本實用新型解決其技術問題所采用的技術方案是:一種污水處理厭氧反應器,包括罩體、進水口、溢流板、溢氣口、出水口、污泥排出口、倒漏斗形循環取水口、循環泵、射流布水器;所述罩體采用透明有機玻璃組成,分為填料區、沉淀區、布水區三個區域,沉淀區頂端設有溢氣口,側下方設有出水口,中間安裝有溢流板;布水區底部為錐形以減少反應死區,底端安裝有進水口,側面設有污泥排出口,布水區上沿處設錐角為45°的倒漏斗形循環取水口,在罩體外部安裝有循環泵,循環泵進水口與倒漏斗形循環取水口相連接,出水口與射流布水器相通。
優選的,所述填料區內填充有填料層組件,不僅能夠有效的攔截污泥,解決污泥流失問題,同時還可以在填料層組件上掛膜,可進一步提高COD去除率,出水水質再次提高。
優選的,所述填料層組件是由變性聚乙烯塑料制成的立體狀節能型填料,既有一定的剛性又有一定的柔性,其特殊的結構性能和水力性能使得它無論在有無流體作用下都能保持一定的形狀,并具有一定的變形能力。
優選的,所述射流布水器由主干管、支管、布水管組成;主干管下端連通有四根支管,呈對稱分布,每根支管頂端設有沿垂直方向傾斜45°角的布水管,可以有效增強原水與污泥的高效混合接觸,限制污泥層膨脹及上浮流失,不易發生堵塞現象且容易清除。
本實用新型,一種污水處理厭氧反應器:儲存于廢水箱的污水由恒流泵打入反應器后,首先進入射流布水器并在其中得到均勻分配,從而達到布水均勻的目的。當間歇操作的水力循環裝置運行時,到達倒漏斗取水口下方的泥、水、氣混合液在循環泵的強大動力作用下,由倒漏斗取水口吸入循環管,經循環泵打入布水系統而重新均勻分配到反應器池底,同時池底因為具有一定的弧度而不易產生死角。水流上升,當混合液與填料層碰撞后,氣體首先逃逸,由反應器頂端的排氣口排出并收集利用,厭氧污泥因為自身的重力作用和填料層的攔截作用而發生沉淀使水質變得澄清,經溢流堰溢流后從出水口排出。
本實用新型一種污水處理厭氧反應器,其有益效果是:
1)該污水處理厭氧反應器在連續攪拌的情況下,反應器內部的水流混合良好,近于全混狀態,且反應器內部死區率低,有效容積大;
2)該污水處理厭氧反應器的運行穩定,且反應器進行間歇攪拌可加速反應器所產沼氣的分離,同時也可促進污泥中微氣泡的分離;
3)該污水處理厭氧反應器用自制的填料層組件取代主流反應器上部傳統的三相分離器專利技術,結構簡單安裝方便,降低了工程成本,且反應器出水中SS濃度均小于300mg/L,可以很好地攔截污泥,有效減少污泥流失。

污水處理設備聯系方式:
銷售熱線:010-8022-5898
手機號碼:186-1009-4262





