今天為大家介紹的是——廢水比可調凈水機及其調節方法,下面是具體內容。
廢水比可調凈水機及其調節方法,控制模塊連接TDS探針和撥碼開關,TDS探針將測量的TDS值傳送給控制模塊,撥碼開關將控制鍵的開閉情況傳送給控制模塊,控制模塊控制進水電磁閥與濃水電磁閥的開閉。本發明利用撥碼開關和TDS探針來實現控制模塊調整凈水機的沖洗時間和制水時間,撥碼開關為手動調節,TDS探針測量的TDS為自動調節,使得RO膜的使用壽命大大增加,在不同水質下均不易產生堵膜現象。

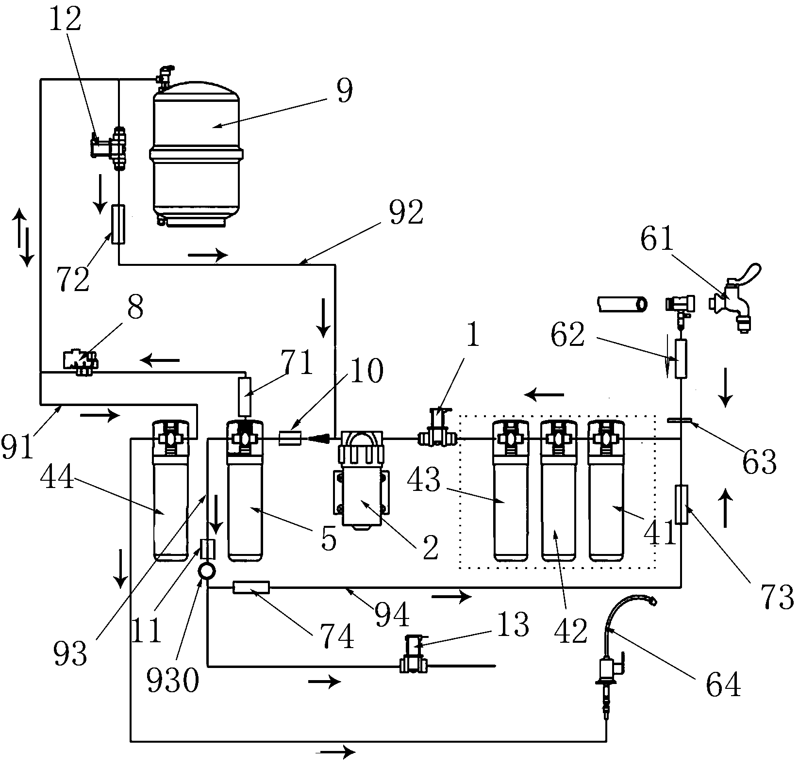
1.一種廢水比可調凈水機,包括控制模塊、水路板和過濾模塊;所述水路板內置預設通路,水路板側面設有與預設通路連通的原水進口、純水出口和濃水出口,水路板上安裝有進水電磁閥和過濾模塊,過濾模塊包括RO濾芯;所述原水進口連接進水電磁閥,原水進口后端設有TDS探針;進水電磁閥連接過濾模塊中的RO濾芯,RO濾芯的純水端連接純水出口,濃水端通過濃水通路連接濃水電磁閥,濃水電磁閥連接濃水出口;其特征在于:還包括撥碼開關,撥碼開關上設有三位控制鍵,所述控制模塊連接TDS探針和撥碼開關,TDS探針將測量的TDS值傳送給控制模塊,撥碼開關將控制鍵的開閉情況傳送給控制模塊,控制模塊控制進水電磁閥與濃水電磁閥的開閉。
2.如權利要求1所述的一種廢水比可調凈水機,其特征在于:所述水路板上還安裝有增壓泵,過濾模塊還包括前置濾芯和后置濾芯,原水進口連接前置濾芯,前置濾芯依次連接進水電磁閥和增壓泵,增壓泵連接RO濾芯的進水端,RO濾芯的純水端通過高壓開關連接后置濾芯,后置濾芯連接純水出口,控制模塊控制增壓泵的工作。
3.如權利要求1所述的一種廢水比可調凈水機,其特征在于:所述水路板內置的濃水通路上安裝有磁化器,磁化器位于濃水電磁閥之前,濃水經磁化后流入濃水電磁閥。
4.如權利要求3所述的一種廢水比可調凈水機,其特征在于:所述濃水通路為三段式結構的渦旋通路,該渦旋通路中段的管徑小于該渦旋通路前段的管徑,該渦旋通路末段的管徑大于該渦旋通路前段的管徑;所述渦旋通路末段的管徑大小大于該末段的軸向長度,所述渦旋通路末段設有出水孔,出水孔位于該渦旋通路中段延長線的側面;所述濃水電磁閥安裝在濃水通路末端的出水孔處,磁化器安裝在該渦旋通路前段。
5.一種權利要求1所述凈水機的廢水比調節方法,其特征在于:利用撥碼開關三位控制鍵的開閉情況來手動調節凈水機的沖洗時間和制水時間,調節廢水比;當撥碼開關的三個控制鍵均處于關閉狀態時,利用TDS探針檢測原水進口的TDS值,控制模塊根據TDS值來調整凈水機的沖洗時間和制水時間;
當原水TDS值<200時,控制模塊控制凈水機制水5分鐘,沖洗17秒,達到純水與廢水比例為2:1;
當200≤原水TDS值<500時,控制模塊控制凈水機制水5分鐘,沖洗34秒,達到純水與廢水比例為1:1;
當原水TDS值≥500時,控制模塊控制凈水機制水5分鐘,沖洗68秒,達到純水與廢水比例為1:2。
6.如權利要求5所述的廢水比調節方法,其特征在于:當撥碼開關的位控制鍵處于開啟狀態,第二、三位控制鍵處于關閉狀態時,控制模塊控制凈水機制水5分鐘,沖洗17秒,達到純水與廢水比例為2:1。
7.如權利要求5所述的廢水比調節方法,其特征在于:當撥碼開關的第二位控制鍵處于開啟狀態,、三位控制鍵處于關閉狀態時,控制模塊控制凈水機制水5分鐘,沖洗34秒,達到純水與廢水比例為1:1。
8.如權利要求5所述的廢水比調節方法,其特征在于:當撥碼開關的第三位控制鍵處于開啟狀態,、二位控制鍵處于關閉狀態時,控制模塊控制凈水機制水5分鐘,沖洗68秒,達到純水與廢水比例為1:2。
9.如權利要求5所述的廢水比調節方法,其特征在于:沖洗時,控制模塊控制進水電磁閥、增壓泵、濃水電磁閥工作,原水經由進水電磁閥、增壓泵對RO濾芯進行沖洗,廢水從濃水電磁閥排出。
10.如權利要求5所述的廢水比調節方法,其特征在于:制水時,控制模塊控制進水電磁閥、增壓泵工作,濃水電磁閥關閉,原水經由前置濾芯、進水電磁閥、增壓泵進入RO濾芯過濾后從純水出口排出。
目前市場上在售的RO機,大多是回收率固定不變,不能根據當地水質狀況進行調節。國內不同地區水質差異很大,部分城市自來水TDS值在30~60之間,北方農村自來水TDS值在500以上,甚至達到800或超過1000;厥章使潭ú蛔,在水質好的地方,會造成浪費自來水情況,如果機器回收率高而原水TDS值又很高,容易產生堵膜現象。
發明內容
本發明的個目的是提供一種可以調節廢水排放比例的凈水機。
本發明的第二個目的是提供一種凈水機中廢水排放比例的調節方法。
為了實現個目的,本發明的技術方案是:一種廢水比可調凈水機,包括控制模塊、水路板和過濾模塊;所述水路板內置預設通路,水路板側面設有與預設通路連通的原水進口、純水出口和濃水出口,水路板上安裝有進水電磁閥和過濾模塊,過濾模塊包括RO濾芯;所述原水進口連接進水電磁閥,原水進口后端設有TDS探針;進水電磁閥連接過濾模塊中的RO濾芯,RO濾芯的純水端連接純水出口,濃水端通過濃水通路連接濃水電磁閥,濃水電磁閥連接濃水出口;還包括撥碼開關,撥碼開關上設有三位控制鍵,所述控制模塊連接TDS探針和撥碼開關,TDS探針將測量的TDS值傳送給控制模塊,撥碼開關將控制鍵的開閉情況傳送給控制模塊,控制模塊控制進水電磁閥與濃水電磁閥的開閉。
進一步地,所述水路板上還安裝有增壓泵,過濾模塊還包括前置濾芯和后置濾芯,原水進口連接前置濾芯,前置濾芯依次連接進水電磁閥和增壓泵,增壓泵連接RO濾芯的進水端,RO濾芯的純水端通過高壓開關連接后置濾芯,后置濾芯連接純水出口,控制模塊控制增壓泵的工作。
進一步地,所述水路板內置的濃水通路上安裝有磁化器,磁化器位于濃水電磁閥之前,濃水經磁化后流入濃水電磁閥。
進一步地,所述濃水通路為三段式結構的渦旋通路,該渦旋通路中段的管徑小于該渦旋通路前段的管徑,該渦旋通路末段的管徑大于該渦旋通路前段的管徑;所述渦旋通路末段的管徑大小大于該末段的軸向長度,所述渦旋通路末段設有出水孔,出水孔位于該渦旋通路中段延長線的側面;所述濃水電磁閥安裝在濃水通路末端的出水孔處,磁化器安裝在該渦旋通路前段。
為了實現第二個目的,本發明的技術方案是:一種廢水比調節方法,利用撥碼開關三位控制鍵的開閉情況來手動調節凈水機的沖洗時間和制水時間,調節廢水比;當撥碼開關的三個控制鍵均處于關閉狀態時,利用TDS探針檢測原水進口的TDS值,控制模塊根據TDS值來調整凈水機的沖洗時間和制水時間;
當原水TDS值<200時,控制模塊控制凈水機制水5分鐘,沖洗17秒,達到純水與廢水比例為2:1;
當200≤原水TDS值<500時,控制模塊控制凈水機制水5分鐘,沖洗34秒,達到純水與廢水比例為1:1;
當原水TDS值≥500時,控制模塊控制凈水機制水5分鐘,沖洗68秒,達到純水與廢水比例為1:2。
進一步地,當撥碼開關的位控制鍵處于開啟狀態,第二、三位控制鍵處于關閉狀態時,控制模塊控制凈水機制水5分鐘,沖洗17秒,達到純水與廢水比例為2:1。
進一步地,當撥碼開關的第二位控制鍵處于開啟狀態,、三位控制鍵處于關閉狀態時,控制模塊控制凈水機制水5分鐘,沖洗34秒,達到純水與廢水比例為1:1。
進一步地,當撥碼開關的第三位控制鍵處于開啟狀態,、二位控制鍵處于關閉狀態時,控制模塊控制凈水機制水5分鐘,沖洗68秒,達到純水與廢水比例為1:2。
進一步地,沖洗時,控制模塊控制進水電磁閥、增壓泵、濃水電磁閥工作,原水經由進水電磁閥、增壓泵對RO濾芯進行沖洗,廢水從濃水電磁閥排出。
進一步地,制水時,控制模塊控制進水電磁閥、增壓泵工作,濃水電磁閥關閉,原水經由前置濾芯、進水電磁閥、增壓泵進入RO濾芯過濾后從純水出口排出。
本發明利用撥碼開關和TDS探針來實現控制模塊調整凈水機的沖洗時間和制水時間,撥碼開關為手動調節,TDS探針測量的TDS為自動調節,正常情況下撥碼開關關閉,依據原水TDS值來自動調節廢水比,而有時TDS值變化比較頻繁,或者TDS探針測量不準確,就可以撥動撥碼開關手動調節廢水比,從而使得RO膜的使用壽命大大增加,在不同水質下均不易產生堵膜現象。
本發明RO濾芯排出的濃水經濃水端流入濃水通路,濃水流經磁化器,經磁化后能夠將水中的較大顆粒狀的各種鹽類物質結晶重新打散分解成松散的絮狀的小顆粒狀物質,此物質不會有前面大顆粒結晶狀物質那么強的粘附能力,能夠隨著濃水電磁閥那邊的沖洗放流而排出機器外面,從而對濃水電磁閥形成一種防止鹽類物質在上面結晶的保護,也使得濃水回流通路內的濃水不易結晶。
同時,將容易凝結結晶的濃水通路分成三段式,前段為正常管路,中段管徑驟然縮小,而末段又為豎向設置的長條區域。當磁化后的濃水流到中段時由于水路管徑變小,導致此時的水流速度加快,然后水流往前是一個開放的豎向區域,比較終導致旋窩狀水流的形成。由于此處的水流急、空間小,所以能夠將鹽類顆粒重新打散成細小的,松散狀的絮狀顆粒,并對后面的濃水電磁閥進行不間斷沖洗,從而避免了此處的水路產生鹽類結晶物的堆積,更加保護了濃水電磁閥的使用壽命。

污水處理設備聯系方式:
銷售熱線:010-8022-5898
手機號碼:186-1009-4262





