本發明涉及污水過濾領域,具體的說是一種高排量污水過濾機,包括主動轉軸、兩個從動轉軸、兩塊安裝板、柔性過濾網、控制器、清潔轉軸、排污溝、排污絞龍、排污管和儲污池,主動轉軸和從動轉軸安裝在安裝板上,柔性過濾網繞在主動轉軸和從動轉軸上,柔性過濾網的迎水面傾斜布置,將上層污物帶到下層,清潔轉軸對柔性過濾網進行清潔,并將污物送至排污溝,排污絞龍將污物通過污水管排到儲污池內。本發明可將污物從流速快的水域帶到流速慢的水域并排出,能夠大大提高流速快的水域的通過量,并且本發明能夠將位于污水渠底部的污物清除,而且本發明還具有結構簡單、制造成本低、便于運輸和安裝等特點。
摘要附圖

權利要求書
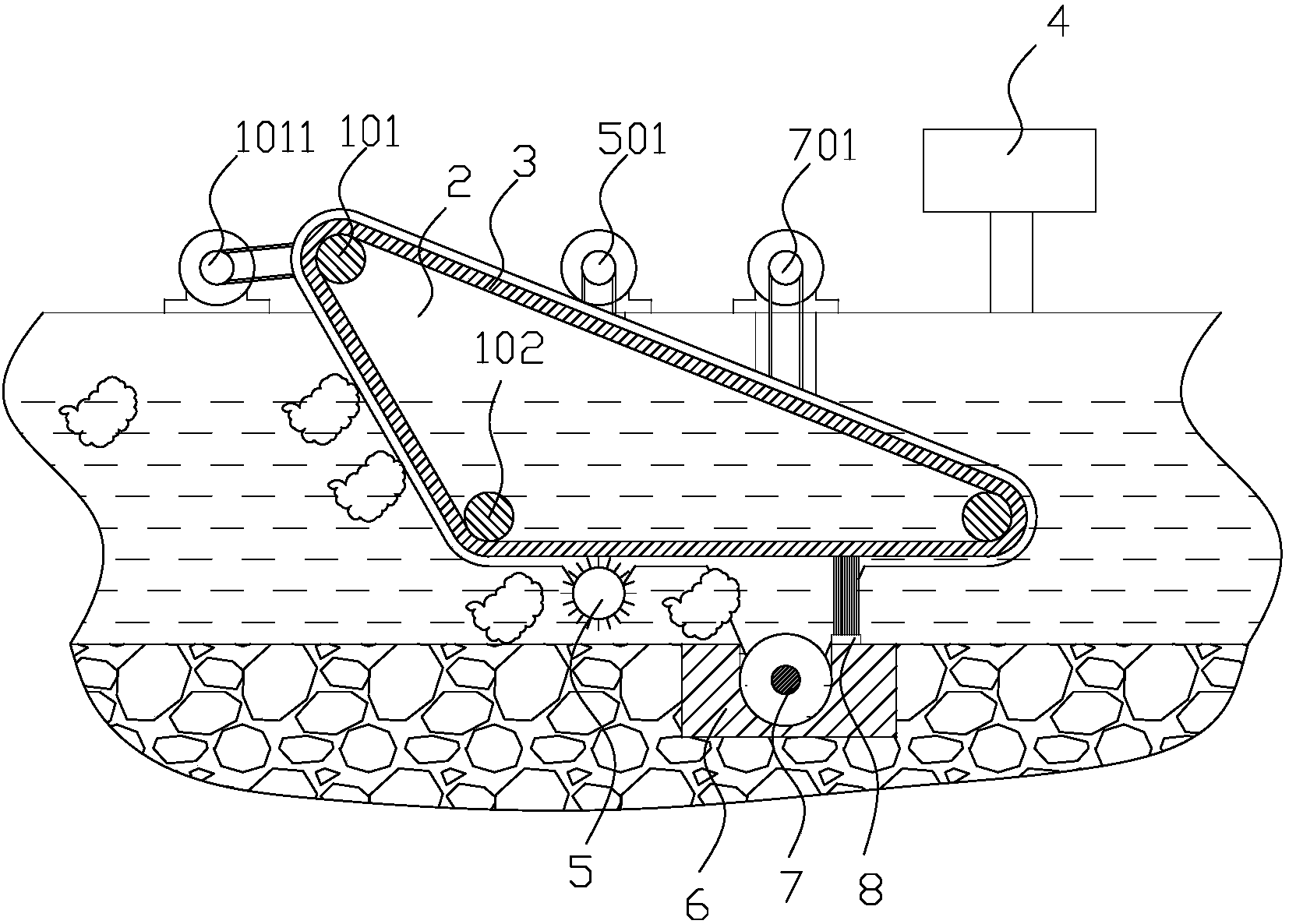
1.一種高排量污水過濾機,其特征在于:包括主動轉軸(101)、兩個從動轉軸(102)、兩塊安裝板(2)、柔性過濾網(3)、控制器(4)、清潔轉軸(5)、排污溝(6)、排污絞龍(7)、排污管(9)和儲污池(10);所述的兩個從動轉軸(102)平行布置在同一水平線上,所述的主動轉軸(101)平行布置在從動轉軸(102)的前上方,并與兩個從動轉軸(102)構成一個鈍角三角形,所述兩塊安裝板(2)分別安裝在主動轉軸(101)和從動轉軸(102)兩端,兩塊安裝板(2)通過螺栓分別固定在污水渠兩側,所述柔性過濾網(3)繞在主動轉軸(101)和從動轉軸(102)上并隨主動轉軸(101)轉動,所述的清潔轉軸(5)位于從動轉軸(102)下方且安裝在安裝板(2)上,清潔轉軸(5)上設置有清潔毛刷,所述的排污溝(6)位于清潔轉軸(5)的后方,且排污溝(6)上端平齊的嵌入到污水渠的底部,所述的排污溝(6)上設置有U形溝,所述的排污絞龍(7)在U形溝內轉動,排污絞龍(7)的一端安裝在安裝板(2)上,另一端安裝在排污管(9)上,所述的排污管(9)與所述的U形溝相連通,且排污管(9)伸入到儲污池(10)內,排污管(9)為開口向上的直角彎管,且排污管(9)開口的水平高度大于污水比較大流量時的水平高度,排污溝(6)上表面安裝有擋刷安裝座(8),擋刷安裝座(8)平行U形溝布置且位于U形溝后方邊緣處,擋刷安裝座(8)上設置有擋刷,擋刷的上部與柔性過濾網(3)相接觸;在污水渠邊分別安裝有驅動主動轉軸(101)轉動的轉動電機(1011)、驅動清潔轉軸(5)轉動的清潔電機(501)和驅動排污絞龍(7)轉動的排污電機(701),所述的轉動電機(1011)、清潔電機(501)和排污電機(701)均與控制器(4)電連接。
2.根據權利要求1所述的一種高排量污水過濾機,其特征在于:所述的柔性過濾網(3)外表面上垂直安裝有排布成人字形的耙齒,耙齒的直徑為2mm~3mm,耙齒間距為10mm,人字形的開口方向與耙齒的運動方向相反,人字形末端對稱的設置有排布成U形的耙齒,U形的開口與耙齒運動方向相同,相鄰的人字形的耙齒間距為100mm。
3.根據權利要求1所述的一種高排量污水過濾機,其特征在于:所述的排污絞龍(7)的螺旋葉邊緣與U形溝內壁貼合。
4.根據權利要求1所述的一種高排量污水過濾機,其特征在于:所述的排污絞龍(7)的螺旋葉軸向長度大于U形溝的長度50mm~100mm。
5.根據權利要求1所述的一種高排量污水過濾機,其特征在于:所述的柔性過濾網(3)的水平段距離污水渠底部50mm~100mm。
6.根據權利要求1所述的一種高排量污水過濾機,其特征在于:所述的清潔轉軸(5)后方設置有一擋板,擋板的橫截面為直角。
說明書
一種高排量污水過濾機
技術領域
本發明涉及污水過濾領域,具體的說是一種高排量污水過濾機。
背景技術
污水,通常指受一定污染的、來自生活和生產的排出水。污水主要有生活污水、工業廢水和初期雨水。污水一般需要經過污水處理,使污水達到一定的排放標準,才能夠排放到河流中。
污水處理:為使污水達到排水某一水體或再次使用的水質要求對其進行凈化的過程。污水處理需要經過多個步驟才能進行排放或再次使用,而對污水的過濾則是污水處理中的步,也是為后續處理做準備的一步。
目前在污水初步過濾的設備中經常使用的是格柵機,格柵機類型也很多,如機械格柵機、回轉式格柵機、轉格式格柵機、粉碎格柵機等,這些格柵機雖然能夠進行過濾,但除污效果不是很好,這類格柵機都是將污物從水中撈出實現過濾的,然而由于轉動的過濾網不能與污水渠底部接觸,導致不能對污水渠底部的污物進行過濾和清除,并且由于水流的上層流速大于下層流速,過濾網將污物帶到上層水流中,污物會阻擋上層污水的快速流過,從而影響污水的通過量。
針對以上問題,本發明提供一種從下層排污,并且可對污水渠底部進行清潔過濾的一種高排量污水過濾機。
發明內容
本發明所要解決的技術問題是提供一種高排量污水過濾機,能夠對污水渠底部污物進行排污并且能夠提高流速較快的污水的通過量。
本發明解決其技術問題所采用的技術方案是:一種高排量污水過濾機,包括主動轉軸、兩個從動轉軸、兩塊安裝板、柔性過濾網、控制器、清潔轉軸、排污溝、排污絞龍、排污管和儲污池;所述的兩個從動轉軸平行布置在同一水平線上,所述的主動轉軸平行布置在從動轉軸的前上方,并與兩個從動轉軸構成一個鈍角三角形,所述兩塊安裝板分別安裝在主動轉軸和從動轉軸兩端,兩塊安裝板通過螺栓分別固定在污水渠兩側,所述柔性過濾網繞在主動轉軸和從動轉軸上并隨主動轉軸轉動,柔性過濾網逆時針轉動,可將流動較快的上層污水中的污物帶到流動較慢的下層污水中,以提高上層污水的通過量,迎水面的柔性過濾網傾斜布置能夠更容易將污物帶入到底層,且可減小污水對柔性過濾網的正面沖擊,主動轉軸、從動轉軸、安裝板和柔性過濾網相對于現有設備,結構簡單,重量較輕,便于運輸、安裝和拆檢;所述的清潔轉軸位于從動轉軸下方且安裝在安裝板上,清潔轉軸上設置有清潔毛刷,所述的清潔毛刷能夠觸碰到柔性過濾網和污水渠底部,清潔轉軸逆時針轉動,清潔毛刷可對柔性過濾網進行清洗,且可將污水渠底部的污物向后清掃至排污溝,實現對污水渠底部的清理;所述的排污溝位于清潔轉軸的后方,且排污溝上端平齊的嵌入到污水渠的底部,所述的排污溝上設置有U形溝,所述的排污絞龍在U形溝內轉動,排污絞龍的一端安裝在安裝板上,另一端安裝在排污管上,所述的排污管與所述的U形溝相連通,且排污管伸入到儲污池內,排污管為開口向上的直角彎管,且排污管開口的水平高度大于污水比較大流量時的水平高度,污物進入U形溝內,排污絞龍轉動將污物輸送至排污管內,在后的污物將在前的污物從排污管的開口處擠出,由于排污管開口的水平高度大于污水比較大流量時的水平高度,所以污水不會從排污管的開口流出,并且由于污水是流動的液體,在重力作用下污水會向下流,不會被污物擠出;排污溝上表面安裝有擋刷安裝座,擋刷安裝座平行U形溝布置且位于U形溝后方邊緣處,擋刷安裝座上設置有擋刷,擋刷的上部與柔性過濾網相接觸,擋刷對柔性過濾網進行進一步的清潔,擋刷還可阻擋污物繼續向后移動,使污物留在U形溝內,實現污物的聚集,便于污物的排出;在污水渠邊分別安裝有驅動主動轉軸轉動的轉動電機、驅動清潔轉軸轉動的清潔電機和驅動排污絞龍轉動的排污電機,所述的轉動電機、清潔電機和排污電機均與控制器電連接。
優選的,所述的柔性過濾網外表面上垂直安裝有排布成人字形的耙齒,耙齒垂直柔性過濾網安裝,在迎水面耙齒向下傾斜,可將污物儲存在耙齒與柔性過濾網形成的角落里,耙齒的直徑為2mm~3mm,耙齒間距為10mm,人字形的開口方向與耙齒的運動方向相反,人字形末端對稱的設置有排布成U形的耙齒,U形的開口與耙齒運動方向相同,相鄰的人字形的耙齒間距為100mm,間距過大將不能及時排污,間距過小導致儲污能力差,水流的中心流速大于兩邊的流速,設置的排布成人字形的耙齒可使中間的部分污物排向兩邊,污物會進入排布成U形的耙齒內并被帶入到水下進行排出,部分污物從中間位置移動到兩邊,降低了中間污水的阻力,可提高污水的通過量。
優選的,所述的排污絞龍的螺旋葉邊緣與U形溝內壁貼合,污水中特別是底部往往有細小的污物或泥沙,不易清除,使排污絞龍的螺旋葉邊緣與U形溝內壁貼合可將污物清除干凈,防止污物殘留在螺旋葉邊緣與U形溝內壁的細縫之間。
優選的,所述的排污絞龍的螺旋葉軸向長度大于U形溝的長度50mm~100mm,排污絞龍的螺旋葉長度小于U形溝的長度則不能將污物送入排污管內,螺旋葉長度太長則容易造成不必要的浪費,且螺旋葉末端太靠近排污管,則對排污管內壁產生較大的壓力,從而破壞排污管。
優選的,所述的柔性過濾網的水平段距離污水渠底部50mm~100mm,柔性過濾網的水平段的底部給污物留有儲存的空間,距離太近則空間太少,容易導致污物外漏,距離太遠也容易導致污物外漏,起不到在低水速層儲污的作用。
優選的,所述的清潔轉軸后方設置有一擋板,擋板的橫截面為直角,擋板的一個直角面可以阻擋污物與柔性過濾網再次接觸,另一個直角面可阻擋清潔刷將后方的污物帶到前方。
本發明的有益效果是:本發明可將位于上層和中間位置的污物帶到下層污水中排出,減少上層和中間污水的阻力,能夠提高流速較快的上層和中間污水的通過量,并且本發明能夠將位于污水渠底部的污物進行清除,而且本發明還具有結構簡單、制造成本低、便于運輸和安裝的特點。





