本實用新型提供一種環保型廢水回收設備,包括廢水收集箱,廢水收集箱上設置有廢水入口,廢水收集箱內設置有過濾層,廢水收集箱下端設置有廢水出口,廢水出口依次連接有抽水泵、管式膜組件、透過液箱、第二抽水泵、反滲透膜組件和回收水箱,管式膜組件包括進水口、透過液出口和濃縮液出口,抽水泵與進水口連接,透過液出口與透過液箱連接,濃縮液出口依次連接有濃縮液箱和第三抽水泵,第三抽水泵的出口與廢水收集箱連通,透過液箱一側設置有臭氧機,臭氧機上設置有氣爆石,氣爆石位于透過液箱內,本實用新型能夠實現生活廢水的收集,使廢水達到多次利用而且利用率高。
摘要附圖

權利要求書
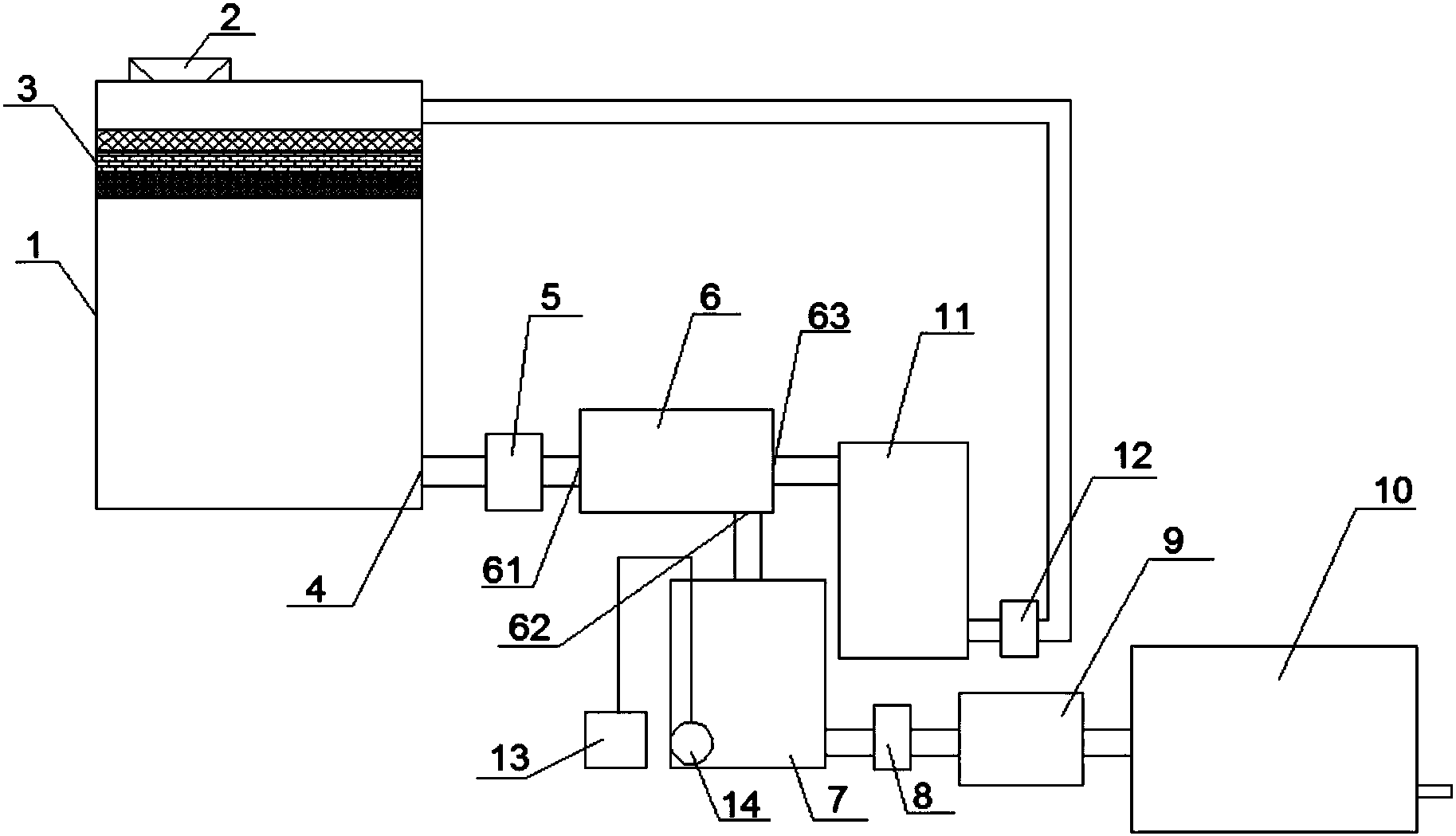
1.一種環保型廢水回收設備,其特征在于:包括廢水收集箱(1),所述廢水收集箱(1)上設置有廢水入口(2),所述廢水收集箱(1)內設置有過濾層(3),所述廢水收集箱(1)下端設置有廢水出口(4),所述廢水出口(4)依次連接有抽水泵(5)、管式膜組件(6)、透過液箱(7)、第二抽水泵(8)、反滲透膜組件(9)和回收水箱(10),所述管式膜組件(6)包括進水口(61)、透過液出口(62)和濃縮液出口(63),所述抽水泵(5)與所述進水口(61)連接,所述透過液出口(62)與所述透過液箱(7)連接,所述濃縮液出口(63)依次連接有濃縮液箱(11)和第三抽水泵(12),所述第三抽水泵(12)的出口與所述廢水收集箱(1)連通,所述透過液箱(7)一側設置有臭氧機(13),所述臭氧機(13)上設置有氣爆石(14),所述氣爆石(14)位于所述透過液箱(7)內。
2.根據權利要求1所述的一種環保型廢水回收設備,其特征在于:所述第三抽水泵(12)的出口與所述廢水收集箱(1)連通處位于所述過濾層(3)的上方。
3.根據權利要求1所述的一種環保型廢水回收設備,其特征在于:所述濃縮液箱(11)內設置有第二過濾層(15),所述第三抽水泵(12)的出口與所述廢水收集箱(1)連通處位于所述過濾層(3)的下方。
4.根據權利要求2所述的一種環保型廢水回收設備,其特征在于:所述過濾層(3)由上至下依次為過濾網、砂石層和活性炭層。
5.根據權利要求3所述的一種環保型廢水回收設備,其特征在于:所述第二過濾層(15)由上至下依次為砂石層和活性炭層。
6.根據權利要求3所述的一種環保型廢水回收設備,其特征在于:所述濃縮液箱(11)上設置有箱蓋(16)。
說明書
一種環保型廢水回收設備
技術領域
本實用新型屬于污水處理技術領域,尤其是涉及一種環保型廢水回收設備。
背景技術
水是由氫、氧兩種元素組成的無機物,無毒,被稱為人類生命的源泉,水是地球上比較常見的物質之一,是包括無機化合、人類在內的所有生命生存的重要資源,也是生物體比較重要的組成部分,水是人類不可缺少的能量,我國是一個淡水資源十分缺乏的國家,因此,對于各種廢水的重復再利用既有現實意義又有深遠的戰略意義。
在水資源日益緊張的今天,我們生活中許多可以再次被利用的水卻被白白浪費掉,據權威數據顯示,普通家庭中,洗浴等人身清潔用水每人每日70升作用,洗衣機每次洗衣需用水平均達到150-170升,通常情況下,家庭沖廁均直接利用由自來水輸送系統輸出的潔凈自來水,這就造成了極大地浪費,為了節約用水,人們也設計了各種各樣的廢水回收利用裝置,但是這些裝置無法對廢水中較大顆粒的物質進行過濾,或處理過的水中還存在油污等,在利用廢水進行沖廁或拖地時極不方便,甚至造成廁所堵塞或地面拖不干凈。
發明內容
本實用新型要解決的問題是提供一種能夠實現生活廢水的收集、使廢水達到多次利用并且利用率高的環保型廢水回收設備。
為解決上述技術問題,本實用新型采用的技術方案是:一種環保型廢水回收設備,包括廢水收集箱,所述廢水收集箱上設置有廢水入口,所述廢水收集箱內設置有過濾層,所述廢水收集箱下端設置有廢水出口,所述廢水出口依次連接有抽水泵、管式膜組件、透過液箱、第二抽水泵、反滲透膜組件和回收水箱,所述管式膜組件包括進水口、透過液出口和濃縮液出口,所述抽水泵與所述進水口連接,所述透過液出口與所述透過液箱連接,所述濃縮液出口依次連接有濃縮液箱和第三抽水泵,所述第三抽水泵的出口與所述廢水收集箱連通,所述透過液箱一側設置有臭氧機,所述臭氧機上設置有氣爆石,所述氣爆石位于所述透過液箱內。
進一步地,所述第三抽水泵的出口與所述廢水收集箱連通處位于所述過濾層的上方。
進一步地,所述濃縮液箱內設置有第二過濾層,所述第三抽水泵的出口與所述廢水收集箱連通處位于所述過濾層的下方。
進一步地,所述過濾層由上至下依次為過濾網、砂石層和活性炭層。
進一步地,所述第二過濾層由上至下依次為砂石層和活性炭層。
進一步地,所述濃縮液箱上設置有箱蓋。
與現有技術相比,本實用新型具有的優點和有益效果是:
1、利用廢水收集箱內的過濾層將初始倒入的廢水進行初步的過濾,可以將廢水中的大塊的雜物、油污等去除,隨后經過管式膜組件,由于管式膜組件的膜孔徑一般采用單個膜管直徑在12mm-20mm之間,膜管直徑大,水的流量大,能夠快速的對廢水進行過濾,過濾后的透過液在透過液箱內利用臭氧機進行殺菌、消毒,比較后由反滲透膜組件進行比較后的過濾,本實用新型能耗少,過濾快,過濾效果好,實現了真正的環保廢水回收。
2、經過管式膜組件的濃縮液會進入濃縮液箱內,會進一步返回到廢水收集箱中,再對其進行另一個周期的廢水回收處理工作,能夠使處理廢水多次回收處理,利用率高。





