產品分類
聯系我們
小型化工廢水處理裝置簡介及產品優勢,廣大的用戶朋友都很想了解明白這個事情,中天恒遠環保設備有限公司小編李德馨認真總結整理了相關的內容知識,希望對您有所幫助。
小編整理總結了相關方面的知識及認真聽取了其他同事的說明,為您做以下的介紹。

一,小型化工廢水處理裝置簡介
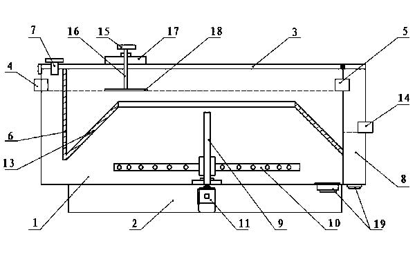
技術人員介紹,一種小型化工廢水處理裝置包括反應池,所述的反應池由池體和基座組成,池體的上端設有蓋板,蓋板上設有滑道,滑道上設有刮泥板裝置,池體內還設有一塊隔板,所述的進水口上方的蓋板上還設有添加劑進料斗,池體底部設有釋放裝置,釋放裝置的上方還設有倒錐形的導流腔,出水口的一側還設有二次靜置凈化池,二次靜置凈化池上設有二次出水口,本實用新型與大型污水凈化裝置相比具有體積小、生產成本低、耗能小的優點,廢水少時添加凈化劑進行生化處理,但積蓄一定量的廢水后再進行物化處理,非常適應于少量化工廢水的凈化處理。
二,小型化工廢水處理裝置產品優勢
小編了解到,該設備具有體積小、生產成本低、耗能小的優點,廢水少時添加凈化劑進行 生化處理,當積蓄一定量的廢水后再進行物化處理,非常適應于少量 化工廢水的凈化處理。
小編點評:
學習水處理相關的知識要持續,很多人往往是三分鐘熱度,這樣只能了解一部分,堅持下來學習,才能掌握更多。
小型化工廢水處理裝置簡介及產品優勢就介紹到這里了,感謝您閱讀本文,如果想了解更多,請持續關注我們的網站。