一種垃圾焚燒電廠水處理系統,廣大的用戶朋友都想弄明白這個事情,中天恒遠環保設備有限公司小編李德馨認真總結整理了相關的內容知識,希望對您有所幫助。

一,垃圾焚燒電廠水處理系統簡介:
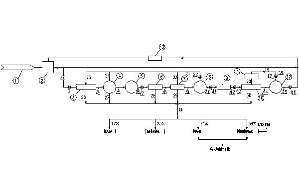
技術人員介紹,該垃圾焚燒電廠冷卻水處理系統,包括多介質過濾器、軟化裝置、凈水箱、碟片過濾器、超濾裝置、超濾水箱、保安濾器、反滲透裝置、反滲透水箱、清洗濾器,其特征在于:多介質過濾器和冷卻塔水箱通過多介質過濾器進水管道(1)、進水閥(2)和輸送泵(3)相連,軟化器和多介質過濾器通過軟化器進水管道(4)相連,凈水箱和軟化器通過凈水箱進水管道(5)相連,碟片過濾器和凈水箱通過碟片過濾器進水管道(6)和凈水泵(7)相連,超濾裝置和碟片過濾器通過超濾進水管道(8)相連,超濾水箱和超濾裝置通過超濾水箱進水管道(9)相連,保安濾器與超濾水箱通過保安濾器進水管(10)、UF水泵(11)相連,反滲透裝置和保安濾器通過反滲透進水管道(12)和高壓泵(13)相連,RO產水箱與RO裝置通過RO水箱進水管(14)相連,產水經由循環回水母管(15)以及反滲透產水泵(16)送至換熱器進行換熱過后,循環至冷卻塔水箱;所述系統中RO裝置清洗用水由RO水箱通過RO水箱出水管(17)、RO清洗水泵(18)、清洗濾器進水管(19)送至清洗濾器過濾后,經由RO第二進水管(20)進入RO裝置進行清洗;所述系統中超濾裝置、軟化器、多介質過濾器的清洗用水由超濾水箱通過超濾水箱出水管(21)和清洗水輸送泵(22),超濾第二進水管(23)、軟化器第二進水管(24)、多介質過濾器第二進水管(25)供至超濾裝置、軟化器和多介質過濾器進行反清洗;所述系統中各裝置濃水通過多介質過濾器排水管(26)、軟化器排水管(27)、碟片過濾器排水管(28)、超濾排水管(29)、反滲透排水管(30)匯集,其中17%用于干灰攪拌,21%用于場地用水,23%用于除渣機冷卻用水,39%進入潔凈廢水處理系統,場地沖洗后的排水和潔凈廢水處理系統的濃水匯流至園區濃液集中處理系統。
二,垃圾焚燒電廠水處理系統特色優勢
一,解決了循環水容易造成的系統腐蝕、結垢和粘泥問題的同時,在運行過程中無須投加化學藥劑,降低了循環水處理的運行成本,亦避免了因藥劑而引起的環境污染;
二,系統的補充水量僅由冷卻過程中風吹與蒸發帶所走的水量,以及系統反洗所需水量組成,補充水量約為循環水總量的1.5-2.0%。因系統無須進行循環濃水外排,同時各裝置匯集的濃水將作為干灰攪拌、場地用水、除渣機冷卻用水使用,剩余濃水進入廠區潔凈廢水處理系統。潔凈廢水處理系統濃水和廠區沖洗排水將進入園區濃液集中處理系統,故本專用系統實現了水量上的“零排放”且減少了市政公用水量的消耗。
三,系統能從根本上去除循環水中的鹽分而非通過外排水的方式除鹽,在水中Ca2+、Mg2+、Cl-等離子不產生腐蝕、結垢傾向的前提下能使系統的濃縮倍率達到8-12。
四,針對循環水水質特點,本專用系統優于常規膜法處理,表現在其回收率能達到75%,提高了節水效果,系統中反滲透膜的使用壽命能達到3-5年。
小編寄語:
沒有人是一帆風順的,在做一件事情中總是充滿挑戰和艱難,不過這樣人生才更有意義,學習水處理知識也是如此,堅持努力,總有一天您會掌握的更好更全面。
一種垃圾焚燒電廠水處理系統就介紹到這里了,感謝您閱讀本文,如果想了解更多,請持續關注我們的網站。