-
湖北省環境保護稅核定征收管理辦法 2018-04-02 [行業資訊] 熱度:267

太鋼投資2.4億建工業污水處理項目,下面是具體內容。 日前,湖北省發布《湖北省環境保護稅核定征收管理辦法》。規定納稅人無法提供月污水排放量的,按照月用水量乘以污水排放系數計算核定。湖北省污水排放系數取值0....
-
太鋼投資2.4億建工業污水處理項目 2018-04-02 [行業資訊] 熱度:373

太鋼投資2.4億建工業污水處理項目,下面是具體內容。 近日,記者從太鋼獲悉,太鋼投資2.4億元,啟動實施工業廢水源頭分質處理和綜合深度處理減排項目。該項目將于2018年內建成投運,處理后的水質將進一步改善,指標...
-
飲用水水源地環境保護專項行動 亮點多多 2018-04-02 [行業資訊] 熱度:374

飲用水水源地環境保護專項行動,亮點多多,下面是具體內容。 3月30日下午,生態環境部和水利部在京聯合召開全國集中式飲用水水源地環境保護專項行動(以下簡稱專項行動)動員部署視頻會議,生態環境部有關負責人出席會...
-
2018年云南省發布“四個一百”重點建設項目計劃 2018-04-02 [行業資訊] 熱度:356

2018年云南省發布四個一百重點建設項目計劃,下面是具體內容。 近日,云南省印發了《云南省2018年四個一百重點建設項目計劃》通知,重點加大綜合交通、能源、水利等五網基礎設施,八大重點產業,新型城鎮化,教育、...
-
在第八屆世界水論壇上 中國海綿城市理念大獲贊譽 2018-04-02 [行業資訊] 熱度:329

今天小編為大家介紹的是 在第八屆世界水論壇上,中國海綿城市理念大獲贊譽 ,下面是具體內容。 海綿城市的建設推進為改善我國城市居住區的水治理工作作出了巨大貢獻。3月18日至23日,在全球規模最大的水事活動第八屆...
-
巨量投資空間持續釋放 水處理趨向規模成效并重 2018-04-02 [行業資訊] 熱度:294

今天小編為大家介紹的是 巨量投資空間持續釋放,水處理趨向規模成效并重 ,下面是具體內容。 近年來水環境治理投入力度加大,產業結構不斷優化,市場配置資源導向不斷深入。業內認為,為進一步推動水處理領域的投資...
-
黑臭水體治理需求持續加大 相關企業要做好準備 2018-04-02 [行業資訊] 熱度:246

今天小編為大家介紹的是 黑臭水體治理需求持續加大,相關企業要做好準備 ,下面是具體內容。 黑臭水體治理的野蠻生長基本告一段落,產業鏈正式迎來精耕細作。深度整合、轉型升級成為行業主流。國內機構認為,在水處...
-
多細分領域處調整窗口 2018年水處理發展進入快速發展期 2018-04-02 [行業資訊] 熱度:239

今天小編為大家介紹的是多細分領域處調整窗口,2018年水處理發展進入快速發展期,下面是具體內容。 產業巨頭加碼、新興業態涌現、利好態勢延續,2018年的水環境治理行業好不熱鬧。各界對水環境治理的發展前景已達成...
-
污水處理厭氧反應器介紹(圖) 2018-04-02 [污水處理] 熱度:460

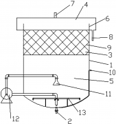
今天小編為大家介紹的是 污水處理厭氧反應器 污水處理 厭氧反應器 ,包括罩體、進水口、溢流板、溢氣口、出水口、污泥排出口、倒漏斗形循環取水口、循環泵、射流布水器;所述罩體采用透明有機玻璃組成,分為填料區、...
-
水處理鈣鎂離子吸附自動剝離器詳細介紹(圖) 2018-04-02 [污水處理] 熱度:412

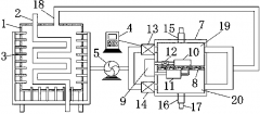
今天小編為大家介紹的是 水處理鈣鎂離子吸附自動剝離器 鈣鎂離子吸附自動剝離器,包括容器、控制主機和至少一組電極組,所述容器上設有出水口和入水口,所述電極組位于所述容器內,所述電極組包括至少兩個電極,至少...
-
全程綜合水處理器 2018-04-02 [污水處理] 熱度:228

今天小編為大家介紹的是 全程綜合水處理器 全程綜合水處理器,其特征在于水處理罐體上還設有用于對循環水水質進行檢測的PH值傳感器、溫度傳感器、電導率檢測儀,所述控制機構中設有控制器、PH值采集電路、溫度采集電...
-
電極箔生產用水處理系統詳細介紹(圖) 2018-04-02 [污水處理] 熱度:345

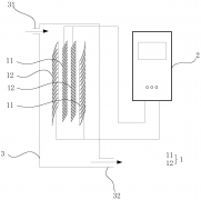
今天小編為大家介紹的是 電極箔生產用水處理系統 電極箔 生產用水處理系統,其所述水管穿過保溫箱,且在保溫箱內部的水管呈折疊狀設置,所述保溫箱的側壁與底端均安裝有進氣支管,所述進氣支管的進氣口通過管道與引...
-
污泥處理系統及處理工藝介紹(圖) 2018-04-02 [污水處理] 熱度:338

今天小編為大家介紹的是 污泥處理系統及處理工藝 污泥處理系統及處理工藝,屬于水處理技術領域。該工藝將污泥首先經污泥濃縮池穩定泥質泥量;之后進入污泥調理池通過調理劑的投加進行污泥破壁;而后進入高壓機械板框壓...
-
含銅污泥處理工藝詳細介紹(圖) 2018-04-02 [污水處理] 熱度:607

今天小編為大家介紹的是 污泥處理工藝 含銅污泥的處理工藝 ,將礦銅冶煉工藝與含銅污泥的火法處置工藝結合起來協同處置,包括將不同品種的含銅污泥按含硫2%和含硫2%的標準進行分類,再分別采用不同的方式進行處理;該...
-
污泥處置系統及處置工藝詳細介紹(圖) 2018-04-02 [污水處理] 熱度:271

今天小編為大家介紹的是 污泥處置系統及處置工藝 干化污泥并資源再利用的方法。所述污泥處置系統包括:污泥進料裝置,污泥干燥裝置,污泥炭化制炭裝置,污泥燃燒裝置以及尾氣處理裝置。本發明提供了一套完善的污泥處...