-
化工污水處理技術詳細介紹(圖) 2018-04-02 [污水處理] 熱度:231

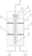
今天為廣大朋友介紹的是化工污水處理技術 化工污水處理裝置,包括預處理裝置,所述預處理裝置依次連通有一級強化處理裝置、二級強化處理裝置和清水儲罐;所述預處理裝置包括進水管和集水池,所述集水池的進水口設置旋...
-
水處理系統和方法詳細介紹(圖) 2018-04-02 [污水處理] 熱度:470

今天為廣大朋友介紹的是水處理系統和方法 水處理系統和方法,該系統包括:水質監控裝置、水質評估裝置和水體凈化裝置,其中,水質監控裝置安裝于待檢測的水體中,用于獲取待檢測水體的各項物理生物化學指標;水質評估...
-
焦化廢水污染控制過程化學變化的詳情介紹(圖) 2018-04-02 [污水處理] 熱度:399

今天給廣大朋友介紹的是-焦化廢水污染控制過程化學變化 (1)水質及其調控:焦化廢水是一種量大面廣、成分復雜、有毒/難降解的典型工業有機廢水.基于目前的水平,采用GC/MS分析技術,系統而全面分析了焦化廢水中有機物...
-
苦咸水反滲透法處理簡介(圖) 2018-04-02 [污水處理] 熱度:266

今天為廣大朋友介紹的是苦咸水反滲透法處理 苦咸水是在漫長的歷史時期和復雜的地理環境中在多種因素綜合作用下不斷演變而形成的,其中古氣候條件、古地理環境、地質構造、水文地質條件和海侵活動等起了重要作用。苦...
-
反滲透水處理方法詳細介紹(圖) 2018-04-02 [污水處理] 熱度:588

今天為廣大朋友介紹的是電鍍廢水的幾種處理方法 反滲透水處理方法,包括:提取黃河水,將黃河水引入澄清池進行澄清;將澄清后的水依次在一次過濾器和二次過濾器過濾,并且對一次過濾器的單罐輪流殺菌,二次過濾器的單...
-
電鍍廢水的幾種處理方法介紹(圖) 2018-04-02 [污水處理] 熱度:217

今天為廣大朋友介紹的是電鍍廢水的幾種處理方法 電鍍廢水電鍍廢水處理方法可以歸納為:物理方法、化學方法、物理化學方法和生物處理方法。 一,物理方法 物理方法是廢水中呈懸浮狀態的污染物質利用自身的物理沉降作...
-
納濾膜技術在廢水處理中膜污染研究方法的詳情介紹(圖) 2018-04-02 [污水處理] 熱度:195

今天為廣大朋友介紹的是 納濾膜技術在廢水處理中膜污染研究方法 在納濾膜技術深度處理廢水過程中,納濾膜污染的研究方法主要包括:①采用模型污染物模擬廢水的組成以深入探討膜污染,②采用各種分析及表征手段揭示膜...
-
含氰含鉻電鍍廢水處理工藝詳細介紹(圖) 2018-04-02 [污水處理] 熱度:497

今天為廣大朋友介紹的是含氰含鉻電鍍廢水處理工藝 一種含氰含鉻電鍍廢水的處理工藝,其特征在于:包括以下步驟, (1)將含氰含鉻電鍍廢水通過鐵碳微電解反應器; (2)將pH調至9~11,然后加入次氯酸鈉,反應1060分鐘后,...
-
電鍍廢水處理工藝詳細介紹(圖) 2018-04-02 [污水處理] 熱度:320

今天為廣大朋友介紹的是電鍍廢水處理工藝 電鍍廢水處理工藝,包括如下步驟:S1.將綜合廢水引入調節池T500,調節其水量,均化水質;S2.將調節池內的綜合廢水經反應池T501,向反應池T501中加入30%60%H2SO4和30%60%NaOH...
-
電鍍廢水處理工藝和技術詳細介紹(圖) 2018-04-02 [污水處理] 熱度:251

今天為廣大朋友介紹的是 電鍍廢水處理工藝和技術 電鍍廢水處理工藝和裝置。通過依次連接的原液罐、進料泵、第一板式換熱器、第二板式換熱器、降膜蒸發器、降膜分離器、強制循環換熱器、結晶分離器、出料泵、稠厚器、...
-
加藥系統和污水處理系統詳細介紹 2018-04-02 [污水處理] 熱度:289

今天為廣大朋友介紹的是加藥系統和污水處理系統 加藥系統和污水處理系統。加藥系統包括攪拌室、儲藥室、加藥泵和攪拌機;攪拌機轉動設置在攪拌室內,用于攪拌攪拌室內的混合藥劑;儲藥室與攪拌室連接,用于將攪拌后的...
-
雙甘膦廢水的處理技術詳細介紹 2018-04-02 [污水處理] 熱度:311

今天為廣大朋友介紹的是 雙甘膦廢水的處理技術 雙甘膦廢水的處理裝置,使處理程度更徹底、系統集成化更高包括處理容器,所述處理容器內部由上至下設有第一過濾板、第二過液板,所述第一過濾板、第二過液板將所述處理...
-
空調水處理技術介紹(圖文) 2018-03-31 [污水處理] 熱度:348

今天為廣大朋友介紹的是空調水處理技術 空調水處理裝置,涉及廢水回收利用領域,包括殼體、過濾器和紫外線殺菌燈,殼體內部設有殺菌室,其中過濾器裝設于殺菌室的進水口,紫外線殺菌燈裝設于殺菌室內,并且紫外線殺...
-
景觀水處理系統介紹(圖) 2018-03-31 [污水處理] 熱度:294

今天為廣大朋友介紹的是景觀水處理系統 景觀水處理系統,包括設置在景觀水池一側的預處理裝置、設置在預處理裝置一側的出水管,以及依次與出水管連接的水泵、臭氧反應池、沉淀池和活性炭吸附池;預處理裝置包括一橫桿...
-
景觀水處理技術介紹(圖文) 2018-03-31 [污水處理] 熱度:206

今天為廣大朋友介紹的是景觀水處理技術 景觀水處理裝置,該裝置由裝置本體、固定裝置和電源裝置組成,裝置本體包括噴頭、磁化器和潛水泵,噴頭、磁化器和潛水泵通過螺紋依次連接成為一個整體;裝置本體固定連接在固定...